【嘉德点评】华为发明的此光子集成电路发挥了III-V族材料易于平面化,并形成有源设备的优点,使得有源设备与电子组件之间能够紧密集成。
集微网消息,近日北大科研团队在Nature上发表了重要成果,此成果将会大幅推动光子集成和光子芯片等领域的发展。其实不止在学术界,在工业界诸如华为等企业也开展了对光子集成领域的研究。
数据通信的快速增长已引起光子集成电路(photonic integrated circuit,PIC)的发展:用于使用光信号而不是电信号运行的集成电路。与它们的电等效物相比,光信号能够提高速度并提供更多带宽。硅提供宽带红外透明度,这使其成为建造光子集成电路的选择。然而,尽管硅的透明度使其适合于建造波导等无源光子组件,且硅能够用于建造如调制器和检测器之类的有源设备,但硅基有源设备的性能通常比由III-V族材料制造的有源设备能够实现的性能差。
今后很有可能使用III-V晶片(例如InP或GaAs)来形成单片集成的光子集成电路。然而,与硅基替代方案相比,这种方法太昂贵。虽然将III-V层集成到硅片上的方法已为人所熟知,但目前所掌握的技术会在III-V族材料区域形成非平面表面,这样就很难集成与有源设备相关联的电子设备。
为此,华为在17年就申请了一项名为“光子集成电路”的发明专利(申请号:201711196284 .6),申请人为华为技术有限公司。此项发明专利提供了一种改进的光子集成电路,以及用于实现生产这种电路的机制。

图1 光子集成电路示意图
上图是该专利中一种光子集成电路的示例,从图中我们可以看到,光子集成电路200主要包括由高电阻率硅片形成的衬底201、由二氧化硅层206和三个硅波导203至205形成的无源层202,以及两个III-V族材料层207、208。
两个III-V族材料层分别位于无源层的相应凹槽中,其厚度为1μm至5μm之间。其中第一层207一般用作激光器,可以耦合到无源层202内的波导205上,这样一来激光器就能够把光传递到波导205中。而第二III-V族材料层208一般用作EAM,且以绝热方式耦合到无源层203内的波导204、203。在图1的示例中,所有的波导203至205均被二氧化硅覆层206所包围。另外,电重布线层(以互连209表示)与有源设备相接触,使得有源设备能够和电子集成电路中的电组件相连。

图2(a) 图2(b)

图2(c) 图2(d)
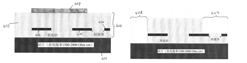
上图是制造光子集成电路的过程示意图,首先在硅衬底401上制造二氧化硅层403,其中二氧化硅层包封三个由硅形成的波导404-406(如a图所示),并在a图中的上表面生成了掩模407,而且掩模允许从无源层402选择性蚀刻二氧化硅。进而就得到了如b图所示的蚀刻之后的结构,并相应地产生了两个凹槽408、409。
接着,在凹槽中沉积III-V族材料层。如c图所示,每个III-V族材料层都会形成相应的有源设备,比如层410会形成激光器,层411会得到EAM等。最后,在每一个有源设备上进行沉积以得到介电层413,接着将介电层平面化,并在有源设备顶上添加电重布线层,如d图所示。
华为发明的此光子集成电路发挥了III-V族材料易于平面化,并形成有源设备的优点,使得有源设备与电子组件之间能够紧密集成。光子集成技术是突破下一代信息网络所面临的速率和能耗两大技术瓶颈的核心技术,将在5G通讯、云计算、大数据、智能网联汽车等多个领域发挥支撑作用。希望华为可以不负众望,在光子集成领域也能开辟一片新天地。
关于嘉德

深圳市嘉德知识产权服务有限公司由曾在华为等世界500强企业工作多年的知识产权专家、律师、专利代理人组成,熟悉中欧美知识产权法律理论和实务,在全球知识产权申请、布局、诉讼、许可谈判、交易、运营、标准专利协同创造、专利池建设、展会知识产权、跨境电商知识产权、知识产权海关保护等方面拥有丰富的经验。
(校对/holly)